image
image
image
spacer
marine
Rigging Screws Spares
Spacer Clevis Pin
Spacer Closed Body Metric
Spacer Closed Body UNF
Spacer Lock Nut Metric Thin
Spacer Lock Nut UNF Thin
Spacer Open Body UNF
Spacer Smart Pins
Spacer Split Pin
Spacer Split Ring
Spacer Threaded Eye Metric
Spacer Threaded Fork Metric
Spacer Threaded Fork UNF
Spacer Threaded Machined Fork
Spacer Threaded Toggle UNF
Spacer Toggle Double Jaw
Spacer Toggle Link Shackle
Spacer Toggle Machined
Spacer Toggle Welded
Anchoring & Mooring
Anti-Slip Deck Covering
Blocks by Wichard
Deck Fittings
Hardware
Hooks & Snaps
Knives
Maintenance Products
Marine Tapes
Plastic Fittings
Polishes & Waxes
Rig Tensioners
Rigging Screws
Rigging Screws Spares
Rope
Shackles
Snap Shackles
Travellers & Cars
Wire Rope, Tools & Acc
Wire Terminals

architectural

 

spacer
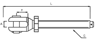
Rigging Screws Spares  —  Threaded Machined Fork

MACHINED FORK
UNF THREAD
STAINLESS STEEL
(AISI 316)

(C/W Pin, Split Ring & Nut)

Photo of Threaded Machined Fork Southern Rigging Supplies

 

RigScrew_Spare_machind_fork_unf.jpg    RigScrew_Spare_machind_fork_unf.gif
Part LH / RH
Thread
G
UNF
Pin Dia
mm
A
mm
L
mm
T
mm
LX-0206-A RH 1/4 ins 6.0 6.3 76 13
LX-0208-A RH 5/16 ins 8.0 8.0 91 16
LX-0210-A RH 3/8 ins 9.5 10.0 111 19
LX-0211-A RH 7/16 ins 11.0 11.0 122 22
LX-0212-A RH 1/2 ins 12.0 12.7 144 25
LX-0216-A RH 5/8 ins 16.0 16.0 175 32
LX-0220-A RH 3/4 ins 19.0 19.0 206 38
LX-0222-A RH 7/8 ins 22.0 22.2 236 45
LX-0225-A RH 1 ins 25.0 25.4 269 50
LX-0306-A LH 1/4 ins 6.0 6.3 76 13
LX-0308-A LH 5/16 ins 8.0 8.0 91 16
LX-0310-A LH 3/8 ins 9.5 10.0 111 19
LX-0311-A LH 7/16 ins 11.0 11.0 122 22
LX-0312-A LH 1/2 ins 12.0 12.7 144 25
LX-0316-A LH 5/8 ins 16.0 16.0 175 32
LX-0320-A LH 3/4 ins 19.0 19.0 206 38
LX-0322-A LH 7/8 ins 22.0 22.2 236 45
LX-0322-A LH 1 ins 25.0 25.4 269 50

 

 

 

 

 

 

Return to previous page Index Quick Links - Anchoring & Mooring - Anti-Slip Deck Covering - Blocks by Wichard - Hardware - Hooks & Snaps - Knives - Maintenance Products - Marine Tapes - Plastic Fittings - Polishes & Waxes - Rig Tensioners - Rigging Screws - Rigging Screws Spares - Shackles - Travellers & Cars - Wire Rope, Tools & Acc - Wire Terminals - Balustrade & Railing - Curtain Rail Anchors     

spacer