image
image
image
spacer
marine
Shackles
Spacer Round Bow
Spacer Round Bow Galvanised
Spacer Round Dee
Spacer Round Dee Galvanised
Spacer Round Flush Bow Allen Pin
Spacer Round Flush Dee Allen Pin
Spacer Round Key Pin
Spacer Round Key Pin & Bar
Spacer Round Long
Spacer Round Twisted
Spacer Round Wide Jaw
Spacer Strip Bow Standard
Spacer Strip Dee, Std., Long & Wide
Spacer Strip Key Pin
Spacer Strip Key Pin with Bar
Spacer Strip Slotted Head
Spacer Strip Twisted Key Pin
Spacer Strip Twisted Std. Pin
Spacer Wichard Bow Allen Pin
Spacer Wichard Bow Captive
Spacer Wichard Bow HR
Spacer Wichard Bow Lock
Spacer Wichard Dee Allen Pin
Spacer Wichard Dee Captive
Spacer Wichard Dee HR
Spacer Wichard Dee Lock
Spacer Wichard Dee Titanium HR
Spacer Wichard Long Captive
Spacer Wichard Long HR
Spacer Wichard Long Lock
Spacer Wichard Tack
Spacer Wichard Thimble Forged
Spacer Wichard Thimble Moulded
Spacer Wichard Twisted Captive
Spacer Wichard Twisted Lock
Spacer Wichard Wide Jaw Lock
Anchoring & Mooring
Anti-Slip Deck Covering
Blocks by Wichard
Deck Fittings
Hardware
Hooks & Snaps
Knives
Maintenance Products
Marine Tapes
Plastic Fittings
Polishes & Waxes
Rig Tensioners
Rigging Screws
Rigging Screws Spares
Rope
Shackles
Snap Shackles
Travellers & Cars
Wire Rope, Tools & Acc
Wire Terminals

architectural

 

spacer
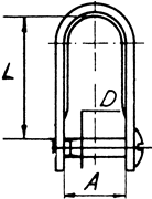
Shackles  —  Strip Slotted Head

Long and Standard Strip Shackles
with slot headed pin
Stainless Steel
(AISI 304)

Photo of Strip Slotted Head Southern Rigging Supplies

 

Shackle_strip_D_slotted.jpg    Shackle_strip_D_slotted.gif
Part Type D
mm
A
mm
L
mm
Break
Load Kg.
BW-160041 Standard 4 10 15 500 10
BW-160042 Long 4 11 20 500 10
BW-160051 Standard 5 12 17 1000 10
BW-165251 Long 5 13.5 25 1100 10
BW-160052 Standard 5 16 24 1000 10
BW-160053 Long 5 16 36 1100 10
BW-160054 Wide 5 21 37.5 1100 10
BW-165206 Standard 6 16 23 1400 10

 

 

 

 

 

 

Return to previous page Index Quick Links - Anchoring & Mooring - Anti-Slip Deck Covering - Blocks by Wichard - Hardware - Hooks & Snaps - Knives - Maintenance Products - Marine Tapes - Plastic Fittings - Polishes & Waxes - Rig Tensioners - Rigging Screws - Rigging Screws Spares - Shackles - Travellers & Cars - Wire Rope, Tools & Acc - Wire Terminals - Balustrade & Railing - Curtain Rail Anchors     

spacer